技术设计的基本规则 (Baisc rules of Embodiment design)
基本规则 明确、简单及安全 ( clarity, simplicity and safety )是从一般的目标设计推导出来的:
满足技术功能
经济性
对人体及环境的安全
对 明确性 的注意,有助于可靠地预先确定作用和性能,并且在很多情况下节省时间和昂贵的研发费用。
简单性 保证在正常情况下获得一个经济的解的方案。较少的零件数目和简单的结构型式,可以使加工较快、较好地进行。
对 安全性 的要求,促使人们坚持根据耐用性、可靠性、消除事故以及保护环境等方面去处理问题。
1 明确( Clarity )
下面我们将应用明确性的基本原则到设计导则(设计需要关注的项目)的各个项目上。
作用原理 Working Principle
所选的作用原理在物理效应方面应该能够描述原因和效应之间的关系,从而能够正确经济的进行参数计算并且其作用结构必须能够确定能量流、物料流和信号流的有次序的走向。以免发生不必要的及意料不到的影响,如多余的应力,变形和随之而来的磨损。
考虑到已有载荷引起的变形及温度引起的热膨胀,设计人员必须在结构上预先安排沿一定方向伸长的可能性 。

图 1 轴承布置结构图
a) 固定式和游离式: 左轴承承受了全部的轴向力,右轴承允许热膨胀引起的轴向位移不受阻碍,计算的可能性是明确的。
b)两端止动轴承排列方式: 由于轴承的轴向载荷与预紧力有关,且不能明确描述,因而其配置不明确 。
c)弹性预紧轴承:两端主动支撑轴承排列方式的缺点仍然保持,在某些情况下,持续作用的预紧力会引起寿命的降低。利用弹簧的力 - 变形图可以明确的描述出热膨胀产生的负荷,只要轴向力 Fa 向右作用,或者向左作用,但不超过预紧力 Ff,轴的位置总是确定的。
只有当轴的长度变化小得可以忽略不计,或支撑中相应的游隙在允许范围内,才可以采用所谓的两端止动支撑的轴承排列形式。 采用弹性预紧法时,轴向力 Fa 不能超过 Ff ,可确保明确的载荷大小。

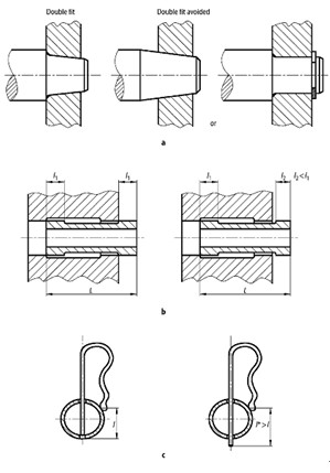
a 具有过盈配合的轴毂连接。针对轴环的端面定位和锥度定位造成了双重定位:由于过盈配合造成的突然压力是不能被确定的。正确的办法是采用其中的一种定位,而非两种同时使用。
b 线性导轨在外壳内采用一个引导套筒。外壳在两点的同时定位使得装配过程更加复杂。一种可能的办法如右图所示。
c 这个长度的弹簧夹,它的低端与管接触,同时作用力点也与管接触。操作者无法确认夹具是被管破坏还是弹簧力被超过了。正确的方案如右图所示。
2 简单 Simplicity
当某一解用少量的构件或零件即可实现时,对我们来说是简单的,因为这个时候得到较低的加工成本、较少的磨损、较低的维修费用。然而、即使构件或零件数目少,这种结论也只有在其构造和几何形状保持简单的情况下才能成立。因此, 原则上应力求做到尽可能少的零件数目和尽可能简单的形状结构。
3 安全 Safety
安全技术的概念、种类和范围
安全性不仅满足了技术功能,而且保护了操作人员和环境。设计员利用安全技术,按照DIN31000可理解为三阶段方法,即:
直接的安全性
间接的安全性
提示性的安全性
原则上设计人员应该力求通过使用直接安全技术去满足对安全的要求,那就是说,其解决方案应该是这样选择,使得从一开始本身就不会产生危险。
摘自《Engineering Design: A sysmatic approach 》Springer 2007. G.Pahl & W.Beitz
浏览 次